TTV pillangószelep karima közé építhető,
földgázra és pb gázra,
wafer, kézikarral, vagy kézi csigahajtóművel,
PN10 - PN16
DN40-DN200
Mop5
Sferaco 1141 típus
|
Leírás |
Kézikar vagy kézi csigahajtómű |
ISO csatlakozású hajtóműperem |
Wafer típusú |
Teljesen áteresztő típus |
Cserélhető gumi ülékgyűrű |
9 reteszelhető pozíció |
Minősítése: |
NF ROBGAS N° ROB 064.00 NF EN 593
és FT 2001-01 szerint |
Felhasználása: |
Földgáz és PB gáz |
Gáz max. hőmérséklete: Ts = 60°C |
Gáz min. hőm.: Ts = -20°C |
Gáz max. nyomás: Ps= 5 bar, MOP5 |
Gázos pillangó beépíthetősége: |
Karima közé:
PN10 - DN40 - DN200 |
|
|
N° |
Rész |
Anyagok |
1 |
Ház |
GGG50 rilsan bevonattal |
2 |
Tengely |
SS 420 |
3 |
Tányér DN40 - DN100 |
SS 316 |
3 |
Tányér DN125 - DN200 |
GGG50 rilsan bevonattal |
4 |
Ülékgyűrű |
NBR |
5 |
O gyűrű |
NBR |
|

|
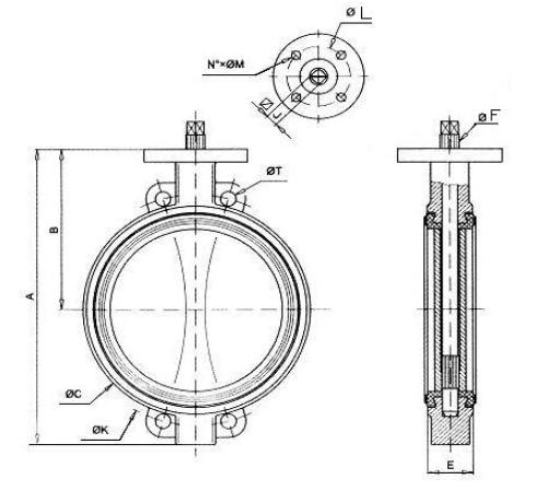
DN |
40 |
50 |
65 |
80 |
100 |
125 |
150 |
200 |
A |
206 |
228 |
243 |
266 |
294 |
324 |
349 |
438 |
B |
140 |
156 |
162 |
170 |
185 |
207 |
216 |
256 |
C |
82 |
102 |
119 |
135 |
155 |
185 |
208 |
270 |
E |
33 |
43 |
46 |
46 |
52 |
56 |
56 |
60 |
F |
10,5 |
10,5 |
14,5 |
16,5 |
16,5 |
18,5 |
18,5 |
22,5 |
J |
8 |
8 |
9 |
11 |
11 |
14 |
14 |
17 |
K |
110 |
125 |
145 |
160 |
180 |
210 |
240 |
295 |
L |
70 |
70 |
70 |
70 |
70 |
70 |
70 |
70 |
N° |
4x9 |
4x9 |
4x9 |
4x9 |
4x9 |
4x9 |
4x9 |
4x9 |
T |
18 |
18 |
18 |
18 |
18 |
18 |
23 |
23 |
Súly |
2 |
3,5 |
4,5 |
5 |
6,5 |
8 |
9 |
15 |
|
Kar: DN40 - DN100
|
|
Kar: DN125 - DN200
|
|
Kézi csigahajtómű (fokozómű) kézikerékkel
|
1197 típus |
B |
C |
D |
E |
F |
G |
H |
Súly |
DN40-200 |
200 |
146 |
167 |
73 |
160 |
50 |
93 |
5,5 |
|
|
Az esetleges hibákért felelősséget nem
vállalunk !